2001年8月1日公安部發布了公消[2001]217號關于進一步《加強哈龍替代品及其技術管理的通知》,通知中FM200(七氟丙烷)氣體自動滅火系統作為第一推薦使用產品,用于保護有人的場所,來撲滅A、B、C類以及電器火災。FM200作為一種新型的替代鹵代烷的潔凈氣體滅火劑,在我國由于其使用時間不長,設計施工的國家規范不是很全面,2006年5月實施的《氣體滅火系統設計規范》(GB50370-2005)對其設計做了規定。在此之前實際工程中FM200的設計依據《七氟丙烷潔凈氣體滅火系統設計及使用暫行規定》、《氣體滅火系統施工及驗收規范)(GB50263-97)、生產廠家提供的FM200系統的各種技術數據及材料,設計中主要是參考廣東省工程建設地方標準《七氟丙烷(HFC227ea)潔凈氣體滅火系統設計規范》(DBJ15-23-1999)、上海地方規程《七氟丙烷(HFC227ea)潔凈氣體滅火系統技術規程)(DG/TJ08-307-2002)及《鹵代烷1301滅火系統設計規范》。
現行的《氣體滅火系統設計規范》(GB50370-2005)中規定:“……當采用管網滅火系統時,一個防護區的面積不宜大于800m2,且容積不宜大于3600m3……”,而在某些需要設置七氟丙烷氣體滅火系統的防護區,由于建筑使用功能的特殊要求,面積或體積超出了規范對防護區的限定值,其建筑使用功能又無法將防護區分隔成幾個防護區。因此,在設計中能否采取一些技術手段實現其應用,既保證防護區的消防安全,又不影響建筑的使用功能,是設計人員需要探討的一個問題。
1、工程實例
在一個鐵路系統調度中心的七氟丙烷氣體滅火系統設計方案中,有二個相同大小的防護區,分別位于0.00m層和8.00m層的同軸位上,每個區面、容積均超出規范;根據其使用功能要求,防護區已不可能再縮小。
1.1防護區的基本情況
防護區的尺寸防護區的凈面積F=982.15m2、防護區的層高H=8.0m,其中吊頂層1.5m空間層6.0m地板層0.5m;防護區總體積V總=F×H=7857.20m3,其中吊頂體積V吊=F×H1=1473.23m3、空間體積V空=F×H2=5892.90m3、地板體積V地=F×H3=491.08m3。
防護區主要保護對象為計算機、通訊及電子監控設備;滅火藥劑設計濃度8%;噴放時間≤8s;浸漬時間3min。
防護區圍護結構及門窗的耐火耐壓等級、開口的設計均滿足氣體滅火系統對防護區的要求和人員安全疏散要求。
1.2管道系統情況
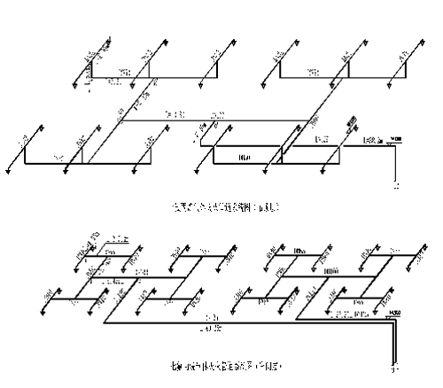
維持防護區不變,對兩個防護區采用組合分配系統,每個防護區內吊頂、空間、地板三個封閉空間采用各自獨立系統;空間層由于防護范圍較大,分四路管道兩個獨立系統進行保護,空間層管道為不均衡管網布置,管道均采用鍍鋅無縫鋼管。防護區管道示意圖如下頁:
滅火劑設計用量計算
式中W——防護區七氟丙烷滅火設計用量,kg;
K——海拔高度修正系數,K=1;
V——防護區的凈容積,m3;
C——七氟丙烷滅火設計濃度,%;
S——七氟丙烷過熱蒸氣在101kPa和防護區最低環境溫度下的比容,m3/kg。
防護區最低環境溫度T=20℃,則S=0.1269+0.000513T=0.13716

1.3七氟丙烷的藥劑容積和管網管道內容積
通過對防護區管道系統布置進行計算并校核,空間層選用Vb=120L鋼瓶44只,吊頂層選用Vb=120L鋼瓶12只,地板層選用Vb=120L鋼瓶4只,儲瓶額定增壓壓力Po=4.2MPa。
每個獨立系統的管道內容積為:

空間層的管道內容積:2Vp空=3.496(m3);
吊頂層的管道內容積:Vp吊=1.017(m3);
地板層的管道內容積:Vp地=0.2896(m3);


儲瓶內藥劑容積為:

1.4管道壓力校核計算
由于該防護區的空間層管道為非均衡管網,各長支管末段的管道內容積之和:

吊頂層和地板層為獨立的均衡管網。
系統中設計用量:

空間層防護區的滅火系統,是由同一信號源控制的兩個相對獨立的系統,因此只計算一個系統,
1.4.1充裝率計算

1.4.2每組儲瓶氣相總容積

1.4.3“過程中點”容器內壓力

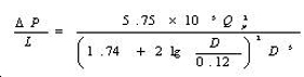
管道阻力損失計算
管道的阻力損失按下式計算:

式中——計算管段阻力損失,MPa;
L——管段計算長度,m(計算管段的沿程實際長度與管道上的管件和閥件局部損失當量長度之和);
Qp——管道流量,kg/s;
D——管道內徑,mm。
其計算結果見下表。
1.5.5高程壓頭計算

式中H為空間層、吊頂層和地板層三層噴頭高度相對“過程中點”時貯瓶液面的位差分別是9.2m、10.7m、3.2m,則

空間層系統管道阻力損失計算結果

吊頂層系統管道阻力損失計算結果


地板層系統管道阻力損失計算結果

1.6噴頭工作壓力計算
綜上所述,設計中實現了:
(1)管網的管道內容積小于貯存容器內滅火藥劑容積的80%;
(2)噴頭末端壓力不小于0.7MPa;
(3)噴頭末端壓力不小于“過程中點”儲存容器內的壓力的一半;
(4)管網中第一分流點至各噴頭的管道阻力損失,其相互差值小于20%;
(5)通過單位面積流量計算確定噴口的面積使得各個噴頭取相等的流量。
2、防護區的面積、容積的限定的探討
查閱相關標準、規范條文說明,對防護區的面積、容積的限定原因解釋可歸納如下:(1)保證防護區內人員有足夠的安全撤離時間;(2)設備投資及工程造價;(3)保證管網的管道內容積小于貯存容器內七氟丙烷藥劑容積的80%;(4)縮短滅火藥劑的噴放時間;(5)國產系統主要部件難以保證更大保護防護區對其的要求。
對于設置七氟丙烷氣體滅火系統的封閉區域,面積或容積《氣體滅火系統設計規范》(GB50370-2005)中規定:“……當采用管網滅火系統時,一個防護區的面積不宜大于800m2,且容積不宜大于3600m3……”筆者認為應區別對待面積和體積的超標問題。
七氟丙烷氣體滅火系統防護區的面積限定,筆者認為只要能保證工作人員在火災報警后30s內撤離防護區,可放寬“一個防護區的面積不宜大于800m2”的限制。在建筑結構設計中雖然可以通過對其通道及出口合理布局以滿足保證工作人員在火災報警后30s內撤離防護區,但隨著面積增加管道長度勢必增加,滅火藥劑從儲存容器到噴頭的時間過長、滅火劑管網的管道內容積增大難以通過管網計算,因而保護面積必定受到限制。
七氟丙烷氣體滅火系統防護區的容積,由于噴頭的保護高度及保護半徑在一定的范圍內,客觀上已經受到了限制。
上海地方規程《七氟丙烷(HFC227ea)潔凈氣體滅火系統技術規程》(DG/TJ08-307-2002)未對防護區的面積、容積加以限定,筆者認為有一定的合理性。
3、探討防護區的面積、容積增大后采取的技術措施
防護區面積、容積增大后,要保證滅火劑在規定的時間內噴放完畢,必須采用一定的措施,具體措施主要有:(1)將滅火劑鋼瓶分為兩組,甚至三、四組,由同一信號源控制多個選擇閥和多個啟動鋼瓶?;馂陌l生時,由多個管道系統將滅火劑同時輸送到防護區內,能保證在規定的噴放時間內防護區內的滅火劑達到滅火濃度;(2)采取加大系統管徑、噴頭數、噴口面積的辦法,來保證管網系統在規定的時間內將滅火劑噴放完畢,并均勻分布到防護區域;(3)降低七氟丙烷藥劑充裝率。采用第一種方法時,相當于將防護區劃分為幾個完全相同的小防護區進行計算,計算通過率較高;第二、第三種方法因管網管道較長,管徑較大等原因,計算結果很難同時滿足噴頭壓力Pc≥Pm/2以及管網的管道內容積小于貯存容器內藥劑容積的80%的規定要求,計算通過率低,只適用于容積相對較小的防護區。
具體設計中,可按以下方法進行:
當防護區的面積≤800m2,根據目前國產大部分氣體滅火劑噴頭的保護高度不大于6.5m的現狀,受到噴頭的保護高度的限制,容積不會超標過大。此類情況下,可采用加大系統管徑、噴頭數、噴口面積的辦法來處理。
當防護區的面積≥800m2,設置了吊頂和靜電地板,在防護區內會存在兩個或兩個以上封閉空間,除主體的封閉空間外,其他封閉空間多為吊頂上或靜電地板下,防護區的總容積由各封閉空間的容積之和確定。每個封閉空間可設置獨立的管路和噴頭,對管網復雜、管道內容積較大情況,可采用雙瓶組或多瓶組的方法,滿足規范對噴放時間、壓力等的要求。
在本案中,經反復計算對比最后確定的設計方案是:維持防護區不變,對兩個防護區采用組合分配系統,按一個防護區確定滅火劑用量,系統設置上對吊頂、空間、地板層分別采用獨立系統,其中空間層用兩組滅火劑鋼瓶,由兩個啟動鋼瓶和由一信號源控制的六個選擇閥,用十二路管道將滅火劑輸送到防護區內,采用合理的充裝率,以保證其噴放時間(8s)滿足要求,一旦發生火災,自動報警系統報警并發出滅火指令,30s后兩個電磁閥同時啟動兩組滅火劑鋼瓶,在規定時間內防護區內的滅火劑達到濃度要求。
由于本案中保護空間大,其面積、容積均已超出規范規定,保護區域場所內人員多、情況復雜,合理設置其通道及出口,經火災場景摸擬,30s內工作人員可完全撤離。
保護區是鐵路的一個重要調度指揮中心,24小時有人值守,滅火控制采用人工確認手動控制方法,在火災確認后同時由兩人按動啟動按鈕方可實施噴放,避免由于誤報警、誤動作等因素造成誤噴放,以確保系統、人員的安全及鐵路運行調度指揮的正常運行。

